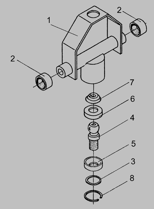
Пружина наконечника рульової тяги ЗІЛ 130,131,133ГЯ Авто Союз 88 130-3003069

51 
 сьогодні
Виробник
Авто Союз 88
Каталоговий номер
130-3003069
Схеми
дивитися →
  • Доставка по Україні
    -  на відділення Нової Пошти або кур'єром до дверей
    - самовивіз у Дніпро
    докладніше →
  • Оплата при отриманні
    або іншим зручним способом, докладніше →
  • Гарантія
    обмін/повернення товару протягом 14 днів, докладніше →
Застосування

Застосування за схемами
Тяги кермові 4085-3414-10 » Рама
  • ЛЗА 40810
Тяги кермові » Рама
  • ЛЗА 4043М
Тяги кермові поперечні » Рама
  • ЛЗА 4014
Головка кермової тяги КІС 0109160 » Управління рульове
  • КСК-600
Тяга поперечна КІЛ 0109040 » Рама
  • КСК-100А
Уловлювач » Подрібнювач
  • КПК Полесье-3000
Поперечна рульова тяга » Рама, бампери та бризковики двигуна
  • ЛиАЗ 5256
Показати ще схеми ↓