Підшипник 6- (-R) BBC 1680206

377 
 завтра
Виробник
BBC (Латвія) Виробництво Латвія
Каталоговий номер
1680206
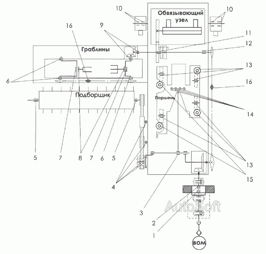
Схеми
дивитися →
  • Доставка по Україні
    -  на відділення Нової Пошти або кур'єром до дверей
    - самовивіз у Дніпро
    докладніше →
  • Оплата при отриманні
    або іншим зручним способом, докладніше →
  • Гарантія
    обмін/повернення товару протягом 14 днів, докладніше →
Про виробника BBC
Країна : Латвія
(Baltic Bearing Company), Латвія
Аналоги "1680206 BBC":
0 отзывов
146  завтра
Артикул:
1680206
ASR
Виробництво Китай Китай
Придбати Код: 223630-6
0 отзывов
145  сьогодні
Артикул:
1680206
ДК
Придбати Код: 21841-2
0 отзывов
202  сьогодні
Артикул:
1680206
Rider
Придбати Код: 144237-2
0 отзывов
161  сьогодні
Артикул:
1680206
CT Investments, s.r.o.
Придбати Код: 160174-2