|
|
Блок та головка циліндрів двигуна » Двигун
|
|
|
|
|
Кузов закритий » Кузов
|
|
|
|
|
Двері в зборі, оббивка боковини » Кузов
|
|
|
|
|
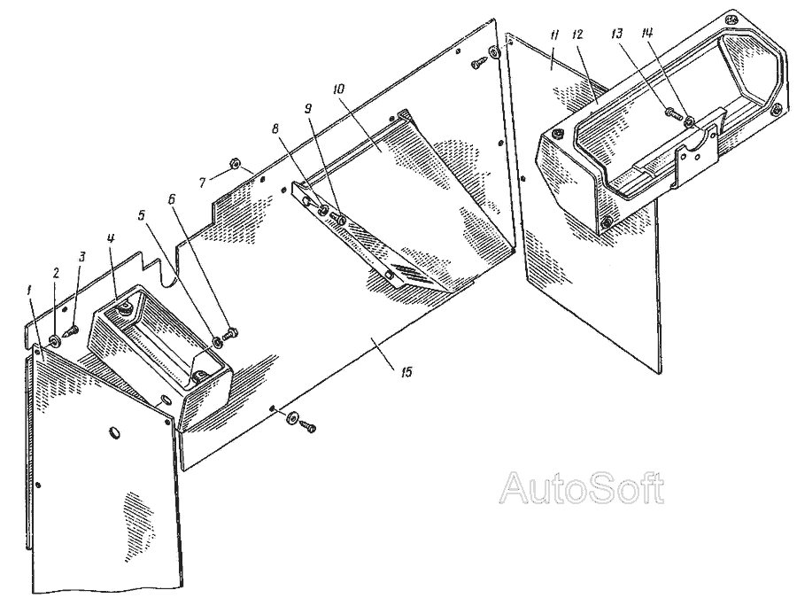
Панель задка у зборі » Кузов
|
|
|
|
|
Петлі, обмежувачі відкриття та ущільнення передніх дверей кузова » Кузов
|
|
|
|
|
Петлі, обмежувачі відкриття та ущільнення передніх дверей кузова » Кузов
|
|
|
|
|
Панель приладів » Підлога кузова
|
|
|
|
|
Крило переднє » Кузов
|
|
|
|
|
Коробка роздавальна » Зчеплення
|
|
|
|
|
Вали та шестерні » Коробка роздавальна
|
|
|
|
|
2217-1000252. Двигун повністю укомплектований » Двигун
|
- ГАЗ-3302 (доп. с дв. Chr Е 3)
|
|
|
|
Двомісне сидіння кабіни » Кабіна
|
|
|
|
|
Сидіння водія, підголовник, ручка шарніра та облицювання сидіння водія » Кузов
|
|
|
|
|
33023-1602002. Установка приводу зчеплення та гальма » Зчеплення
|
|
|
|
|
2217-1000252. Двигун повністю укомплектований » Двигун
|
- ГАЗ-3221 (доп. с дв. Chr Е-3)
|
|
|
|
Настил підлоги, підсилювачі настилу, рейки боковини » Кузов
|
|
|
|
|
Настил підлоги, підсилювачі настилу, рейки боковини » Кузов
|
|
|
|
|
2217-1000252. Двигун повністю укомплектований » Двигун
|
- ГАЗ-2752 (доп. с дв. Chr Е 3)
|
|
|
|
Кузов (без фарбування та оббивки) (2705-5000022-20) » Кузов
|
- ГАЗ-2705, 3221 (куз. детали)
|
|
|
|
Передній буфер та буксирний пристрій » Рама, бампери та бризковики двигуна
|
|
|
|
|
2217-1000252. Двигун повністю укомплектований » Двигун
|
- ГАЗ-2705 (доп. с дв. Chr Е-3)
|
|
|
|
Кріплення кузова, кришки люків боковини та середньої панелі підлоги, фартухи боковини (для автомобілів випуску з 2003 року) » Кузов
|
|
|
|
|
Килимок підлоги салону, настил підніжки бічних дверей, стіл » Кузов
|
|
|
|
|
2217-1000252. Двигун повністю укомплектований » Двигун
|
- ГАЗ-2217 (доп. с дв. Chr Е 3)
|
|
|
|
Настил підлоги салону автобусів, рейки боковини » Кузов
|
|
|
|
|
Сидіння заднє » Вікно вітрове та заднє
|
|
|
|
|
Встановлення замку багажника » Задок кузова
|
|
|
|
|
Панель приладів, облицювання комбінації приладів » Кузов
|
|
|
|
|
Петлі кришки багажника » Кузов
|
|
|
|
|
Підвіска двигуна » Двигун
|
|
|
|
|
Важелі нижні та верхні передньої підвіски, кулаки поворотні: I-з АБС гальм, II-без АБС » Підвіска
|
- ГАЗ-3102, 3110 (дополнение)
|
|
|
|
Вал розподільний та газопровід » Двигун
|
|
|
|
|
Вал розподільний, клапани та штовхачі клапанів двигуна » Двигун
|
|
|
|
|
Підвіска двигуна » Двигун
|
|
|
|
|
Деталі статі » Підлога кузова
|
|
|
|
|
Замок та привід замку капота » Кузов
|
|
|
|
|
Оперення » Підлога кузова
|
|
|
|
|
Підвіска двигуна » Двигун
|
|
|
|
|
Замок та ручка валізи » Підлога кузова
|
|
|
|
|
Двері передні » Підлога кузова
|
|
|
|
|
Картер та механізм перемикання передач » Коробка передач
|
|
|
|
|
Сидіння тримісне у зборі » Кузов
|
|
|
|
|
Сидіння тримісне у зборі » Кузов
|
|
|
|
|
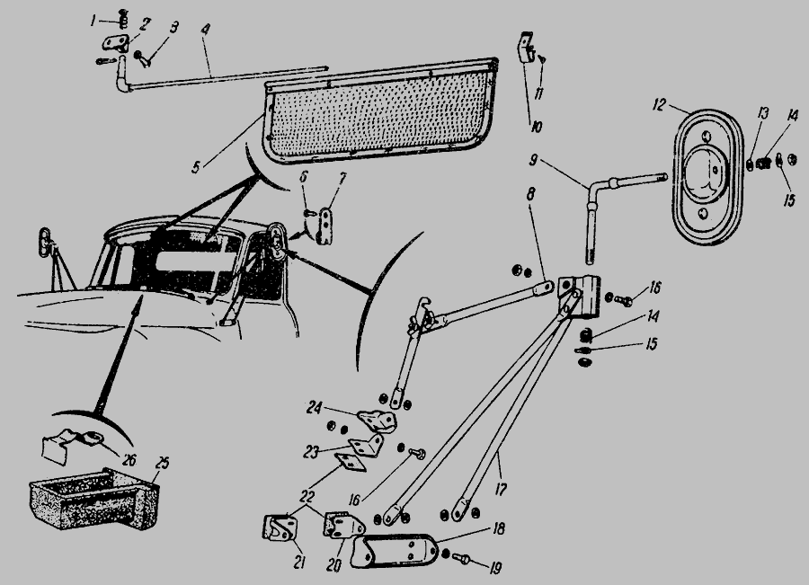
Вікно вітрове, змивач » Кузов
|
|
|
|
|
Вікно вітрове, змивач » Кузов
|
|
|
|
|
Сидіння переднє » Кузов
|
|
|
|
|
Кожухи підлоги » Кузов
|
|
|
|
|
Кожухи підлоги, люки підлоги » Кузов
|
|
|
|
|
Підлога кузова, кожухи підлоги, килимки підлоги, люки підлоги » Кузов
|
|
|
|
|
Підлога кузова, кожухи підлоги, килимки підлоги, люки підлоги » Кузов
|
|
|
|
|
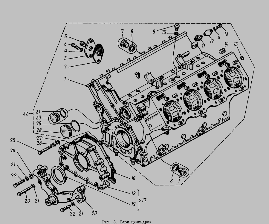
Блок циліндрів » Застосовність
|
|
|
|
|
Блок циліндрів » Двигун
|
|
|
|
|
Блок циліндрів » Двигун
|
|
|
|
|
Блок циліндрів » Двигун
|
|
|
|
|
Блок циліндрів » Двигун
|
|
|
|
|
Блок циліндрів » Двигун
|
|
|
|
|
Блок циліндрів » Двигун
|
|
|
|
|
Блок циліндрів » Двигун
|
|
|
|
|
Блок циліндрів » Двигун
|
|
|
|
|
Вал розподільний » Двигун
|
- ЯМЗ-6581.10, 6582.10 (Евро 3)
|
|
|
|
Блок циліндрів » Двигун
|
|
|
|
|
ВАЛ РОЗПОДІЛЬНИЙ двигунів ЯМЗ-6562.10, ЯМЗ-6563.10 » Двигун
|
- ЯМЗ-6562.10, 6563.10 (Евро 3)
|
|
|
|
Блок циліндрів » Двигун
|
|
|
|
|
Блок циліндрів » Двигун
|
- ЯМЗ-240, 240Б, 240Н, 240П
|
|
|
|
Блок циліндрів » Двигун
|
|
|
|
|
Блок циліндрів » Двигун
|
|
|
|
|
Блок циліндрів » Двигун
|
|
|
|
|
Блок циліндрів » Двигун
|
|
|
|
|
Блок циліндрів » Двигун
|
|
|
|
|
Блок циліндрів » Двигун
|
|
|
|
|
Блок циліндрів » Двигун
|
- ЯМЗ-236 НЕ, 236 БЕ, 7601.10
|
|
|
|
Блок циліндрів двигуна ЯМЗ-236М2 » Двигун
|
|
|
|
|
Блок циліндрів двигуна ЯМЗ-236ДК » Двигун
|
|
|
|
|
Блок циліндрів двигуна ЯМЗ-236М » Двигун
|
|
|
|
|
Коректор подачі палива наддувом » Насос паливопідкачуючий ТНВД 135
|
|
|
|
|
Коректор подачі палива наддувом » Насос паливопідкачуючий модель 60
|
- ТНВД-60, 80, 90, 604, 806, 901
|
|
|
|
Вал колінчастий та маховик » Двигун
|
|
|
|
|
Вал колінчастий та маховик » Двигун
|
|
|
|
|
Вал колінчастий та маховик » Двигун
|
|
|
|
|
Вал колінчастий та маховик » Двигун
|
|
|
|
|
Вал колінчастий та маховик » Двигун
|
|
|
|
|
Картер зчеплення коробок передач ЯМЗ-238ВМ-40, ЯМЗ-238ВК-40 » Зчеплення
|
|
|
|
|
Картер коробки ТМЗ-14.180-10 » ТМЗ-14.180
|
|
|
|
|
Картер коробки передач ТМЗ-09.130-10 та ТМЗ-09.130-11 » ТМЗ-09.130
|
|
|
|
|
Клапани та штовхачі » Двигун
|
|
|
|
|
Клапани та штовхачі » ТМЗ-8437.10
|
|
|
|
|
Блок циліндрів та передня опора » ТМЗ-8486.10-04
|
|
|
|
|
Блок циліндрів » Двигун
|
|
|
|
|
Установка муфти зчеплення, встановлення приводу та картера муфти зчеплення » Зчеплення
|
|
|
|
|
Насос масляний, картер масляний » Двигун
|
|
|
|
|
Вал розподільний, клапани, штовхачі клапанів » Двигун
|
|
|
|
|
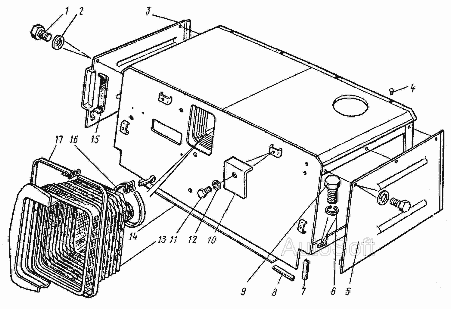
Основні вузли та деталі системи охолодження » Двигун
|
|
|
|
|
Основні вузли та деталі системи охолодження » Двигун
|
|
|
|
|
Вал розподільний, клапани, штовхачі клапанів » Двигун
|
|
|
|
|
Підвіска двигуна » Двигун
|
|
|
|
|
3302-1213001-10 Установка системи рециркуляції відпрацьованих газів » Двигун
|
|
|
|
|
Облицювання радіатора, передні крила, оперення » Вентиляція та опалення
|
|
|
|
|
Глушник, резонатор, труби глушника автомобіля ГАЗель із двигуном ГАЗ-560 » Двигун
|
|
|
|
|
Підвіска двигуна-238НД » Двигун
|
|
|
|
|
Управління рульове » Управління рульове
|
|
|
|
|
Управління рульове » Управління рульове
|
|
|
|
|
Кабіна та її кріплення » Кабіна
|
|
|
|
|
Оперення автонавантажувача 41.015 (41.015-8400) » Кабіна
|
|
|
|
|
Капіт » Кабіна
|
|
|
|
|
Передок » Кабіна
|
|
|
|
|
Установка склоочисника 7427-5205008 » Кабіна
|
|
|
|
|
Гальмо 205.02.00.040 » Гальмівна система
|
|
|
|
|
Розподільний механізм » Двигун
|
|
|
|
|
Шасі 35.0200.000 » Шасі
|
|
|
|
|
130-3509012-Г Компресор » Установка силова
|
|
|
|
|
Гальмівний кран 130-3514010-Б » Управління рульове
|
|
|
|
|
Блок циліндрів » Двигун
|
|
|
|
|
Важіль регулювальний » Гальма
|
|
|
|
|
Важіль регулювальний 500-3501136-01 » Гальма
|
|
|
|
|
Вісь передня » Підвіска
|
|
|
|
|
Коробка передач » Зчеплення
|
|
|
|
|
Коробка передач » Зчеплення
|
|
|
|
|
Вал розподільний, клапани та штовхачі » Двигун
|
|
|
|
|
Зчеплення » Зчеплення
|
|
|
|
|
Газорозподільчий механізм » Двигун
|
|
|
|
|
Передок автобуса » Підлога кузова
|
|
|
|
|
Встановлення сидінь (частина I) » Підлога кузова
|
|
|
|
|
Система опалення » Кузов
|
|
|
|
|
Передок автобуса » Кузов
|
|
|
|
|
Підвіска двигуна ЯМЗ-236НЕ та ЯМЗ-236А » Двигун
|
|
|
|
|
Поперечна рульова тяга » Рама, бампери та бризковики двигуна
|
|
|
|
|
Передок панелі » Кузов
|
|
|
|
|
Двері пасажирські автобуса ЛАЗ-697Н » Кузов
|
|
|
|
|
Сидіння та тримачі » Кузов
|
|
|
|
|
Оперення » Кузов
|
|
|
|
|
Кабіна без дверей » Кабіна (Кузов)
|
|
|
|
|
Кабіна без дверей » Кабіна
|
|
|
|
|
Встановлення зовнішнього облицювання » Кабіна
|
|
|
|
|
Установка шумоізоляції » Кузов
|
|
|
|
|
Встановлення зовнішнього облицювання » Кузов
|
|
|
|
|
Кабіна у зборі » Кузов
|
|
|
|
|
Кабіна у зборі » Кузов
|
|
|
|
|
Кабіна у зборі » Кузов
|
|
|
|
|
Ізоляція мотовідсіку зовнішня » Кузов
|
|
|
|
|
Склоочисник » Встановлення противідкатних упорів
|
|
|
|
|
Встановлення арок коліс » Установка утримувача противідкатного упору
|
|
|
|
|
Кабіна у зборі » Кабіна
|
|
|
|
|
Кабіна у зборі » Кузов
|
|
|
|
|
Кабіна у зборі » Кузов
|
|
|
|
|
Кабіна у зборі » Кузов
|
|
|
|
|
Кабіна у зборі » Кузов
|
|
|
|
|
Кабіна у зборі » Кузов
|
|
|
|
|
Кабіна у зборі » Кузов
|
|
|
|
|
Блок циліндрів, масляний картер, кришки підшипників колінчастого валу, втулки розподільчого валу, картер маховика (Рис.8) » Двигун
|
|
|
|
|
Кабіна у зборі » Кабіна
|
|
|
|
|
Сидіння водія » Кабіна
|
|
|
|
|
Привід паливного насоса високого тиску » Двигун
|
|
|
|
|
Механізм підйому кабіни » Кузов
|
|
|
|
|
Сидіння водія » Кабіна
|
|
|
|
|
Сидіння водія » Кузов
|
|
|
|
|
Сидіння водія » Кабіна
|
|
|
|
|
Сидіння водія » Кузов
|
|
|
|
|
Кабіна в зборі та кріплення кабіни » Кузов
|
|
|
|
|
Кабіна в зборі та кріплення кабіни » Кузов
|
|
|
|
|
Ступиці та гальмівні барабани передніх коліс » Рама, бампери та бризковики двигуна
|
|
|
|
|
Кабіна в зборі та кріплення кабіни » Кузов
|
|
|
|
|
Кабіна в зборі та кріплення кабіни » Кузов
|
|
|
|
|
Кабіна в зборі та кріплення кабіни » Кузов
|
|
|
|
|
Вікно вітрове кабіни » Кузов
|
|
|
|
|
Вікно кабіни вітрове » Кузов
|
|
|
|
|
Кабіна » Кузов
|
|
|
|
|
Кріплення кабіни » Кузов
|
|
|
|
|
Кабіна без дверей » Кузов
|
|
|
|
|
Кабіна без дверей » Кабіна
|
|
|
|
|
Кабіна (без дверей) » Кабіна
|
|
|
|
|
Кабіна » Кабіна
|
|
|
|
|
Кабіна та її кріплення » Кабіна
|
|
|
|
|
Оперення автомобіля » Двері передні
|
|
|
|
|
Кріплення кабіни, люк кабіни вентиляційний, скло заднє, дзеркала » Кабіна
|
|
|
|
|
Кріплення кабіни, вентиляційні люки кабіни, заднє скло, дзеркала » Кабіна
|
|
|
|
|
Кабіна без дверей » Кабіна
|
|
|
|
|
Кріплення кабіни, вентиляційний люк кабіни, заднє скло, дзеркала, прокладка капота » Кабіна
|
|
|
|
|
Вал розподільний, клапани та штовхачі клапанів двигуна » Двигун
|
|
|
|
|
Деталі підлоги, передка та приладдя кабіни » Кабіна
|
|
|
|
|
Кабіна, підвіска кабіни, кришка люка підлоги, кришка люка під тяги » Кабіна
|
|
|
|
|
Кабіна (нерихтована) » Кузов
|
|
|
|
|
Сидіння водія » Кабіна
|
|
|
|
|
3307-6810001. Установка переднього сидіння » Сидіння
|
- ГАЗ-3309 (доп. с дв. ЗМЗ Е 3)
|
|
|
|
Встановлення деталей кабіни » Кузов
|
|
|
|
|
3308-1000262. Двигун повністю укомплектований » Двигун
|
- ГАЗ-3308 (доп. с дв. ЗМЗ Е 3)
|
|
|
|
Кабіна, підвіска кабіни, кришка люка підлоги » Кабіна
|
|
|
|
|
Підвіска кабіни, кришки люка підлоги » Кабіна
|
|
|
|
|
3307-1000258. Двигун повністю укомплектований » Двигун
|
- ГАЗ-3307 (доп. с дв. ЗМЗ Е 3)
|
|
|
|
Підвіска кабіни, кожух підлоги » Кабіна
|
|
|
|
|
Кабіна, підвіска кабіни, кришка люка підлоги, кришка люка під тяги » Кабіна
|
|
|
|
|
Аксесуари кузова » Кабіна
|
|
|
|
|
Приладдя кабіни » Кабіна
|
|
|
|
|
Аксесуари кузова » Кабіна
|
|
|
|
|
Аксесуари кузова » Кабіна
|
|
|
|
|
Облицювання радіатора та капот » Кабіна
|
|
|
|
|
Переднє крило та підніжка » Кабіна
|
|
|
|
|
Бризковики, бампер передній, капот, крило переднє, підніжки » Кузов
|
|
|
|
|
Корпус гідроагрегатів, фільтр та привід гідронасосу » Коробка відбору потужності
|
|
|
|
|
Корпус гідроагрегатів, фільтр та привід гідронасосу » Коробка відбору потужності
|
|
|