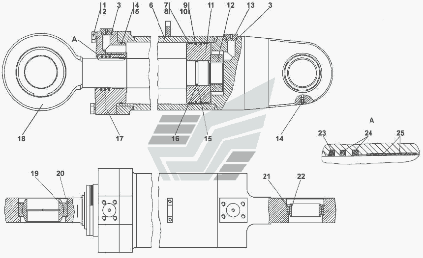
Амортизатор підв. MITSUBISHI передн. газов. SACHS 280 960
|
2 344 ₴
сьогодні
|
- Виробник
- SACHS
- Каталоговий номер
- 280 960
- Застарілий номер
- 170 996
- Схеми
- дивитися →
Застосування
- Товарна група:
- - Підвіска Амортизатори, пружини
Аналоги "280 960 SACHS":
Застосування за схемами
|
313512-21-12СП/-13СП Візок » Система ходова
|
|
|
|
Візок » Рама
|
|
|
|
Гідророзкіс » Гідросистема
|
|
|
|
4001-21-12СП-/13СП Візок » Рама
|
|
|
|
Візок » Рама
|
|
|
|
3501-21-2СП-3СП Візок » Рама
|
|
|
|
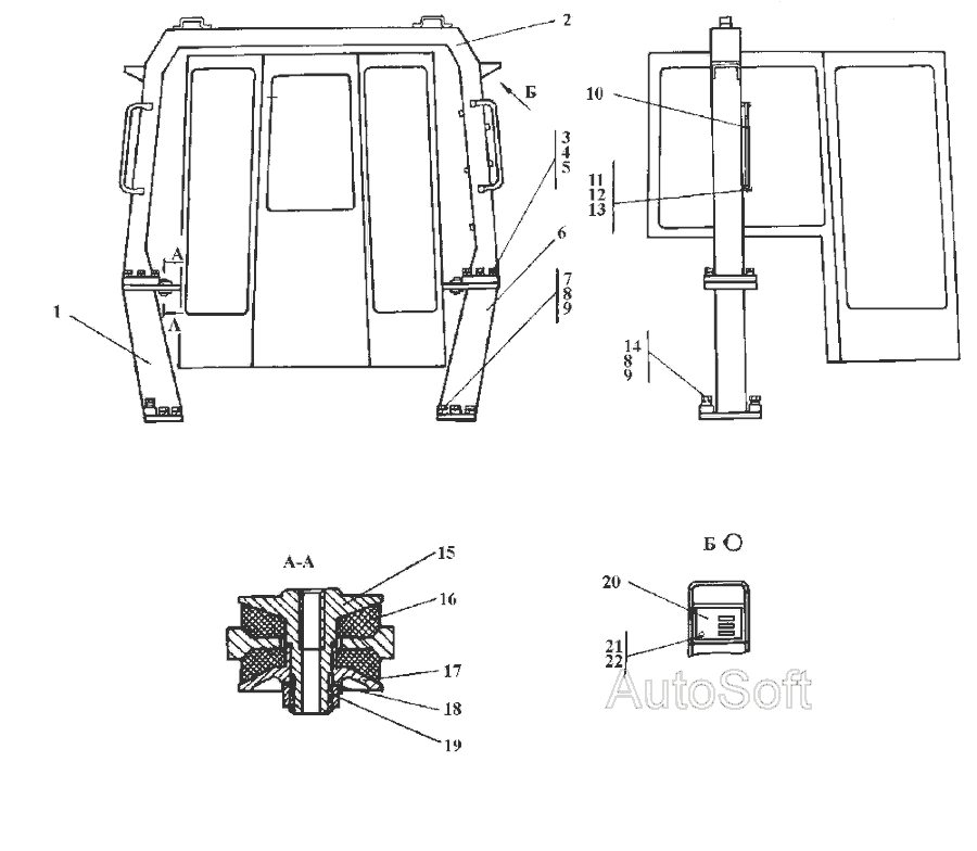
Встановлення захисту кабіни » Кабіна
|
|
Показати ще схеми ↓
