|
|
Механизм и привод управления сцеплением » Сцепление
|
|
|
|
|
Главный и рабочий цилиндр привода выключения сцепления, усилитель » Сцепление
|
|
|
|
|
Цилиндр выключения сцепления, усилитель вакуумный с главным цилиндром тормозов и их приводы » Сцепление
|
|
|
|
|
33023-1602002. Установка привода сцепления и тормоза » Сцепление
|
|
|
|
|
Главный и рабочий цилиндры привода выключения сцепления, усилитель вакуумный с главным цилиндром тормозов, кронштейн с педалями (для автомобилей выпуска до 2003 года) » Сцепление
|
|
|
|
|
Главный и рабочий цилиндры приводы выключения сцепления, усилитель вакуумный с главным цилиндром тормозов, кронштейн с педалями » Сцепление
|
|
|
|
|
Главный и рабочий цилиндр привода включения сцепления, усилитель вакуумный с главным цилиндром тормозов, кронштейн с педалями » Управление рулевое
|
|
|
|
|
Цилиндр главный и рабочий привода выключения сцепления, усилитель вакуумный с главным цилиндром тормозов, кронштейн с педалями » Сцепление
|
|
|
|
|
Главный цилиндр и рабочий цилиндр привода выключения сцепления, главный цилиндр тормозов с вакуумным усилителем, кронштейн с педалями: I - для автомобилей с двигателем ЗМЗ-4063, II - для автомобилей с двигателем ГАЗ-560 » Сцепление
|
|
|
|
|
Регулятор давления тормозов » Управление рулевое
|
|
|
|
|
Глушитель, резонаторы, трубы глушителя двигателей ЗМЗ-402.10 и ЗМЗ-4021.10 » Двигатель
|
|
|
|
|
Компрессор хладоагента » Кузов
|
|
|
|
|
Глушитель выхлопа, трубы выхлопные, резонатор и резонатор дополнительный » Двигатель
|
|
|
|
|
Глушитель выхлопа и трубы выхлопные » Двигатель
|
|
|
|
|
Глушитель выхлопа и трубы выхлопные » Двигатель
|
|
|
|
|
Привод выключения сцепления » Сцепление
|
|
|
|
|
Блок и головка цилиндров двигателя » Двигатель
|
|
|
|
|
Омыватель » Кузов
|
|
|
|
|
Насос водяной очистки ветрового стекла (смыватель) » Кузов
|
|
|
|
|
Кулаки поворотные » Сцепление
|
|
|
|
|
Кулаки поворотные » Сцепление
|
|
|
|
|
Кулаки поворотные » Сцепление
|
|
|
|
|
Привод выключения сцепления » Сцепление
|
|
|
|
|
Кулаки поворотные » Сцепление
|
|
|
|
|
Привод выключения сцепления » Сцепление
|
|
|
|
|
Стекло, уплотнители ветрового окна, стеклоомыватель электрический » Кузов
|
|
|
|
|
Картер, поддон » Двигатель
|
|
|
|
|
Картер, поддон » Двигатель
|
|
|
|
|
Гайки » Стандартные детали
|
|
|
|
|
Главный и рабочий цилиндр привода включения сцепления, усилитель вакуумный с главным цилиндром тормозов, кронштейн с педалями » Сцепление
|
|
|
|
|
Радиатор правый 7427-1714012 » Коробка передач
|
|
|
|
|
Опрыскиватель ветрового стекла » Окно ветровое и заднее
|
|
|
|
|
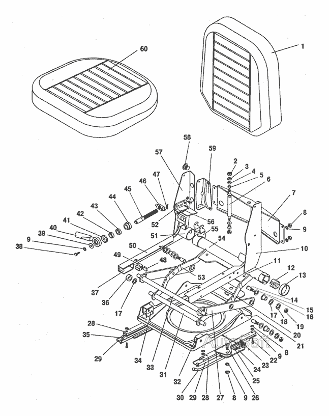
Сиденье водителя » Пол кузова
|
|
|
|
|
Стеклоочиститель с приводом щеток и стеклоомыватель » Кузов
|
|
|
|
|
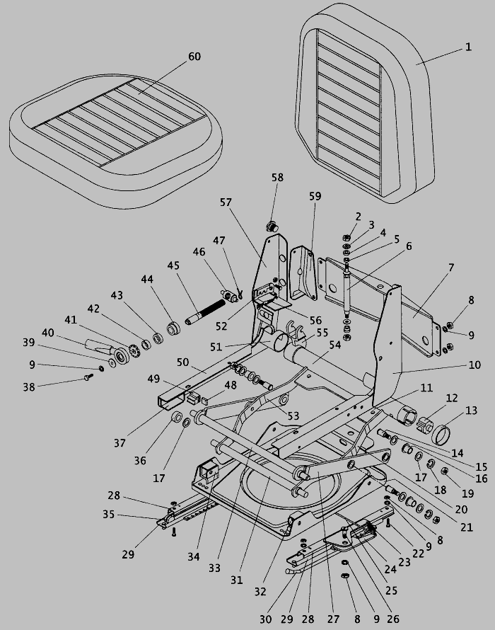
Сиденье водителя » Кузов
|
|
|
|
|
Механизм подрессоривания сиденья водителя » Кузов
|
|
|
|
|
Сцепление (модели 52528, 52528А) » Сцепление
|
|
|
|
|
Сцепление ЯМЗ-236К » Сцепление
|
|
|
|
|
Сцепление ЯМЗ-236К » Сцепление
|
|
|
|
|
Сцепление ЯМЗ-236К » Сцепление
|
|
|
|
|
Сцепление ЯМЗ-236К » Сцепление
|
|
|
|
|
Сцепление ЯМЗ-236К (устанавливается на двигатель с маховиком 236-1005120-Е) » Сцепление
|
|
|
|
|
Механизм и привод управления сцеплением » Сцепление
|
|
|
|
|
Привод выключения сцепления » Сцепление
|
|
|
|
|
Привод сцепления » Сцепление
|
|
|
|
|
Установка системы охлаждения » Двигатель
|
|
|
|
|
Установка системы охлаждения, радиатор » Двигатель
|
|
|
|
|
Установка привода сцепления » Сцепление
|
|
|
|
|
Кронштейн с педалями сцепления и тормоза, цилиндр главный тормозов » Сцепление
|
|
|
|
|
Привод выключения сцепления, главный цилиндр сцепления » Сцепление
|
|
|
|
|
Механизм и привод управления сцеплением » Сцепление
|
|
|
|
|
Кронштейн с педалями сцепления, тормоза и цилиндр главный тормозов » Сцепление
|
|
|
|
|
Насос водяной очистки ветрового стекла (смыватель) » Кабина
|
|
|
|
|
Стеклоочиститель и привод, смыватель ветрового стекла » Кабина
|
|
|