Шланг воздухопроводный ГАЗ 3302,2752,3110 с двиг. ЗМЗ 406 Авто Союз 88 3105-1109192

529 
 сегодня
Производитель
Авто Союз 88
Каталожный номер
3105-1109192
Схемы
смотреть →
  • Доставка по Украине
    -  на отделение Новой Почты или курьером до двери
    - самовывоз в Днепр
    подробнее →
  • Оплата при получении
    или другим удобным способом, подробнее →
  • Гарантия
    обмен/возврат товара в течение 14 дней, подробнее →
Применяемость
Товар подходит к маркам/моделям авто:
- Вантажні авто: Газель
- Легкові авто: Волга
Аналоги "3105-1109192 Авто Союз 88":
0 отзывов
251  завтра
Артикул:
SU350102
ASR
Производство Китай Китай
Купить Код: 197918-6

Применяемость по схемам
Система питания » Двигатель
  • ГАЗ-33027 (Дополнение)
Вентиляция картера, карбюратор, фильтр воздушный, клапан рециркуляции, термовакуумный выключатель двигателей ЗМЗ 4061.10, ЗМЗ 4063.10, ЗМЗ 40637.10 » Двигатель
  • ГАЗ-3302 (ГАЗель)
Фильтр воздушный со шлангами, воздухозаборник, шланг вентиляции картера, датчик температуры воздуха системы управления двигателем ГАЗ-560 » Двигатель
  • ГАЗ-2217 (Соболь)
Фильтр воздушный, датчик массового расхода воздуха системы управления двигателем ЗМЗ-4062.10 » Двигатель
  • ГАЗ-3110
Фильтр воздушный » Двигатель
  • ГАЗ-3105
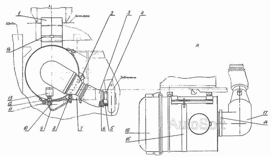
Фильтр воздушный со шлангами, воздухозаборник, шланг вентиляции картера двигателя, датчик температуры воздуха системы управления двигателем » Двигатель
  • ГАЗ-560
Установка воздухоочистителя » Силовая установка
  • ЕТ-18-20
Показать еще схемы ↓