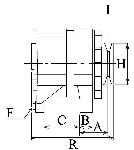
Генератор CARGO 113999
Применяемость
- Товарная группа:
- - Электрика Генератор, реле регулятор, коммутатор, катушка
Аналоги "113999 CARGO":
