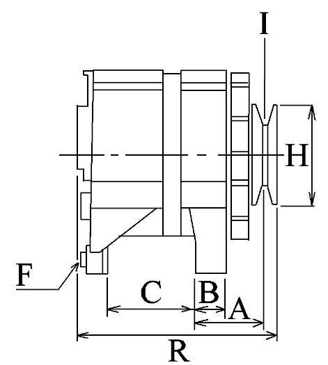
Генератор CARGO 114088
Применяемость
- Товарная группа:
- - Электрика Генератор, реле регулятор, коммутатор, катушка
Аналоги "114088 CARGO":
