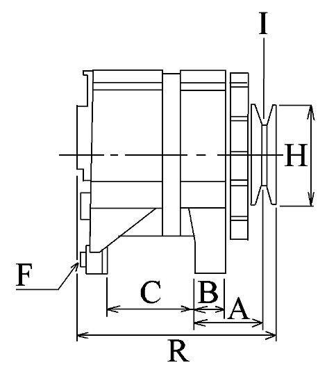
Генератор CARGO 114408
Применяемость
- Товарная группа:
- - Электрика Генератор, реле регулятор, коммутатор, катушка
Аналоги "114408 CARGO":
