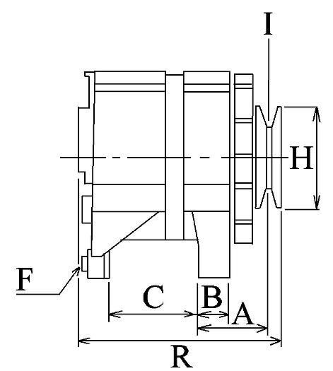
Генератор CARGO 114880
Применяемость
- Товарная группа:
- - Электрика Генератор, реле регулятор, коммутатор, катушка
Аналоги "114880 CARGO":
