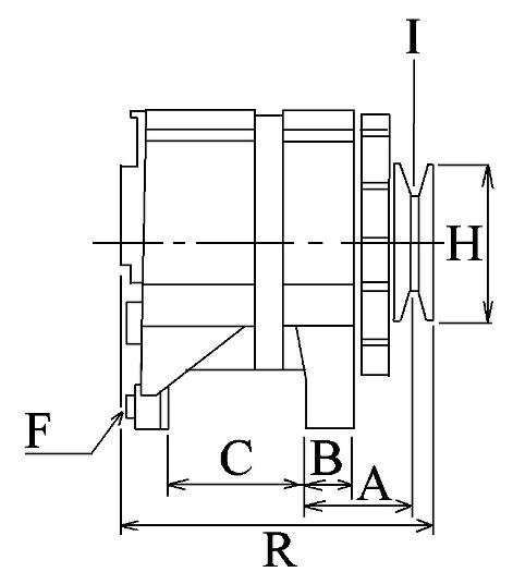
Генератор CARGO 115766
Применяемость
- Товарная группа:
- - Электрика Генератор, реле регулятор, коммутатор, катушка
Аналоги "115766 CARGO":
